其它




商品名稱:表觀密度測定儀 表觀密度檢測儀
商品型號:GBT1636
商品型號:GBT1636
表觀密度測定儀 表觀密度檢測儀 型號:GBT1636
一、產品用途
GBT1636型表觀密度測定儀用于從規定漏斗中流出的松散材料(粉料或粒料)的表觀密度測定。表觀密度對于評價模塑料的相對松散性或相對體積有一定價值。是化工行業原料進廠質量檢驗的一種測試儀器。
該儀器符合標準:GBT1636-2008《塑料 能從規定漏斗流出的材料表觀密度的測定》。
二、主要參數
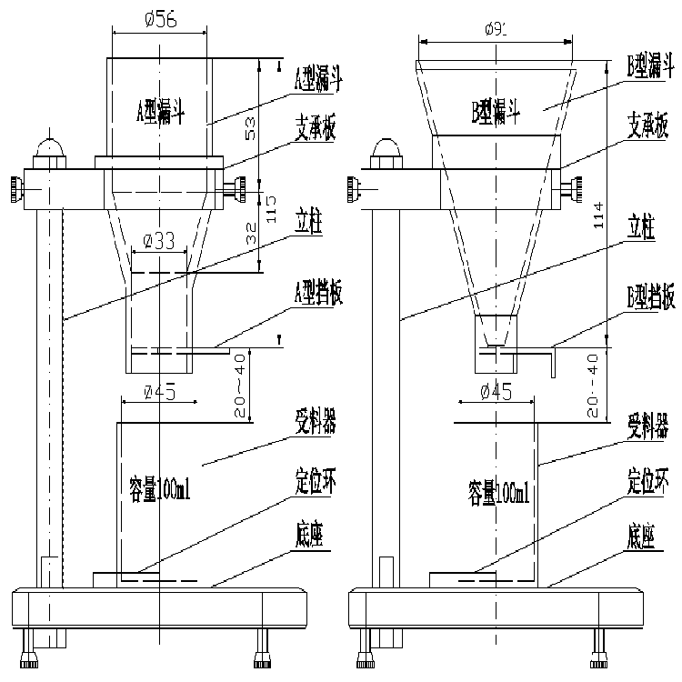
1、A型漏斗:出料口直徑 Φ33mm,入料口直徑Φ56mm,漏斗高度 115mm
2、B型漏斗:出料口直徑 Φ10mm,入料口直徑Φ91mm,漏斗高度 114mm
3、漏料間距:20~40mm
4、受料容器:容器內徑 45±5mm,容器容積 100±0.5mL。
三、儀器結構
表觀密度測定儀由底座,立柱,支承板,A型漏斗,B型漏斗,漏斗擋板,受料容器等部分組成。
產品訂單
聯系方式
北京亞歐德鵬科技有限公司
聯系電話:010-51298264/51294858
手機:15313602957 18210605334
傳真:010-57553286
聯系人:曹經理
地址:北京市門頭溝區雙峪環島東南角熙旺中心(東方巴黎時代廣場)B座2137
網址: // www.rc4vu.com/
QQ:2577341770 2235197632
alibaba旺旺:depeng201105
聯系電話:010-51298264/51294858
手機:15313602957 18210605334
傳真:010-57553286
聯系人:曹經理
地址:北京市門頭溝區雙峪環島東南角熙旺中心(東方巴黎時代廣場)B座2137
網址: // www.rc4vu.com/
QQ:2577341770 2235197632
alibaba旺旺:depeng201105
相關分類
友情鏈接